소방설비기사(전기분야) (2012년09월15일 기출문제)
1과목 : 소방원론
1번 제 2류 위험물에 해당하지 않는 것은?
2번 주된 연소의 형태가 분해연소인 물질은?
3번 마그네슘의 화재시 이산화탄소소화약제를 사용하면 안되는 주된 이유는?
4번 다음 중 착화온도가 가장 낮은 것은?
5번 다음 할로겐원소 중 원자번호가 가장 작은 것은?
6번 22℃ 물 1톤을 소화약제로 사용하여 모두 증발시켰을때 얻을 수 있는 냉각효과는 몇 kcal 인가?
7번 공기와 할론 1301의 혼합기체에서 할론 1301에 비해 공기의 확산속도는 약 몇 배 인가? (단, 공기의 평균분자량은 29, 할론 1301의 분자량은 149이다.)
8번 조연성 가스에 해당하는 것은?
9번 목재 화재시 다량의 물을 뿌려 소화하고자 한다. 이 때 가장 큰 소화효과는?
10번 다음 중 비열이 가장 큰 것은?
11번 연소시 백적색의 온도는 약 몇 ℃ 정도 되는가?
12번 피난동선에 대한 계획으로 옳지 않은 것은?
13번 메탄이 완전 연소할 때의 연소 생성물을 옳게 나열한 것은?
14번 할로겐 화합문 소화설비에서 Halon 1211 약제의 분자식은?
15번 분말소화약제의 주성분이 아닌 것은?
16번 휘발유 화재시 물을 사용하여 소화할 수 없는 이유로 가장 옳은 것은?
17번 다음 중 분진폭발의 위험성이 가장 낮은 것은?
18번 공기를 기준으로 한 CO2 가스 비중은 약 얼마인가? (단, 공기의 분자량은 29이다.)
19번 연기감지기가 작동할 정도이고 가시거리가 20~30m 에 해당하는 감광계수는 얼마인가?
20번 「건축물의 피난ㆍ방화구조 등의 기준에 관한 규칙」 에 따른 바닥의 내화구조 기준으로 "철근콘크리트조 또는 철골철근콘크리트조로서 두께가 ( ) cm 이상인 것"의 ( )에 알맞은 수치는?
2과목 : 소방전기회로
21번 변압기의 내부고장 보호에 사용되는 계전기는 다음 중 어느 것인가?
22번 이상적인 전압원 및 전류원에 대한 설명이 옳은 것은?
23번 주파수응답 특성을 설명한 것이다. 옳지 않은 것은?
24번 다음 변환요소의 종류 중 변위를 임피던스로 변환하여 주는 것은?
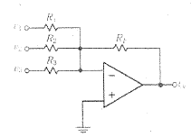
25번
다음과 같이 구성한 연산증폭기 회로에서 출력전압v0는?

26번 피드백제어계 중 물체의 위치, 방위, 자세 등의 기계적 변위를 제어량으로 하는 것은.?
27번 길이 ℓ 의 도체로 원형코일을 만들어 일정한 전류를 흘릴때 M회 감았을 때의 중심의 자계는 N회 감았을 때의 중심의 자계의 몇 배인가?
28번
저항을 설명한 다음 문항 중 틀린 것은?
29번 대전된 전기의 양을 전하량(전하)이라고 하며, 정(+)전하와 부(-)전하로 나뉜다. 정전하와 부전하의 두 전하 사이에 작용하는 힘을 무엇이라고 하는가?
30번 교류전압계이 지침이 지시하는 전압은 다음 중 어느 것인가?
31번 저항 R1, R2와 인덕턴스 L이 직렬로 연결된 회로에서 시정수[sec]는?
32번 다음 중 완전 통전상태에 있는 SCR을 차단상태로 하기 위한 방법으로 알맞은 것은?
33번 동일한 전류가 흐르는 두개의 평행도체가 있다. 도체간의 거리를 1/2로 하면 그 작용하는 힘은 몇 배로 되는가?
34번 단상 200[V]의 교류전압을 회로에 인가할 때 π/6[rad]만큼 위상이 뒤진 10[A]의 전류가 흐른다고 한다. 이 회로의 역률은 몇 [%]인가?
35번
그림과 같은 회로의 AB 사이의 합성저항은?

36번 유도성부하를 사용하는 경우 역률을 개선하기 위한 방법으로 콘덴서를 부하에 병렬로 접속시켜 역률을 개선한다. 다음 중 역률개선의 의미와 다른 것은?
37번 어떤 회로에 V=100+j20[V]인 전압을 가했을 때 I=8+j6[A]인 저류가 흘렀다. 이 회로의 소비전력은 몇 [W]인가?
38번
그림과 같은 회로의 역률은 얼마인가?

39번
다음과 같은 특성을 갖는 제어계는?

40번 3상 평형부하가 있다. 선간전압 3000[V], 선전류 30[A], 역률 0.9(뒤짐)이다. 부하가 Y결선일 때 한 상의 저항은 몇 [Ω]인가?
3과목 : 소방관계법규
41번 성능위주설계를 할 수 있는 자가 보유하여야 하는 기술인력의 기준은?
42번 화재경계지구 안의 소방대상물에 대한 소방검사를 거부ㆍ방해 또는 기피한자에 대한 벌칙은?
43번 함부로 버려두거나 그냥 둔 위험물의 소유자ㆍ관리자ㆍ점유자의 주소ㆍ성명을 알 수 없어 필요한 명령을 할 수 없는때에 소방본부장 또는 소방서장이 취하여야 하는 조치로 맞는 것은?
44번 다음 중 소방시설관리업의 등록이 불가능한 자는?
45번
다음 ( )안의 알맞은 내용을 바르게 나타낸 것은?

46번 특정소방대상물에 설치하는 물품 중 방염처리 대상이 아닌 것은?
47번 피난시설 및 방화시설의 유지ㆍ관리에 대한 관계인의 잘못된 행위가 아닌 것은?
48번 건축허가 등을 함에 있어서 소방본부장 또는 소방서장의 동의를 받아야 하는 건축물 등의 범위가 아닌 것은?
49번 위험물안전관리법에서 정하는 위험물질에 대한 설명으로 다음 중 옳은 것은?
50번 시ㆍ도의 화재 예방ㆍ경계ㆍ진압 및 조사와 화재, 재난ㆍ재해ㆍ, 그 밖의 위급한 상황에서의 구조ㆍ구급 등의 소방업무를 수행하는 소방기관이 설치에 필요한 사항은 어떻게 정하는가?(오류 신고가 접수된 문제입니다. 반드시 정답과 해설을 확인하시기 바랍니다.)
51번 화재가 발생하는 경우 화재의 확대가 빠른 고무류ㆍ연화류ㆍ석탄 및 목탄 등 특수가연물이 저장 및 취급 기분을 설명한 것 중 옳지 않은 것은?
52번 지정수량의 몇 배 이상의 위험물을 저장하는 옥내저장소에는 화재예방을 위한 예방규정을 정하여야 하는가?
53번 위험물을 취급함에 있어서 정전기가 발생할 우려가 있는 설비에는 정전기를 유효하게 제거할 수 있는 설비를 설치하여야 한다. 다음 중 정전기를 제거하는 방법에 속하지 않는 것은?
54번 소화활동설비에서 제연설비를 설치하여야 하는 특정소방대상물의 기준으로 틀린 것은?
55번 소방안전관리자에 대한 강습교육을 실시하고자 할 때 한국소방안전협회의 장은 강습교육 며칠 전까지 교육실시에 관하여 필요한 사항을 공고하여야 하는가?
56번 소방시설관리업자가 기술인력을 변경해야 하는 경우 제출하지 않아도 되는 서류는?
57번 소방시설공사업의 등록사항 변경신고는 변경이 있는 날로부터 며칠 이내에 하여야 하는?
58번 특정소방대상물의 소방계획의 작성 및 실시에 관한 지도ㆍ감독권자로 옳은 것은?
59번 1급 소방안전관리대상물의 관계인이 소방안전관리자를 선임하고자 한다. 다음 중 1급 소방안전관리대상물의 소방안전관리자로 선임될 수 없는 사람은?
60번 소방시설을 구분하는 경우 소화설비에 해당되지 않는 것은?
4과목 : 소방전기시설의 구조 및 원리
61번 다음 중 부착 높이가 4[m] 이상 8[m] 미만에 설치할 수 있는 감지기가 아닌 것은?(문제 오류로 가답안 발표시 2번으로 발표되었지만 확정답안 발표시 전항 정답 처리 되었습니다. 여기서는 가답안인 2번을 누르면 정답 처리 됩니다.)
62번 예비전원을 내장하지 아니하는 비상조명등의 비상전원은 자가발전설비 및 축전지설비를 설치하여야 한다. 설치기준으로 옳지 않은 것은?
63번 누전경보기의 수신부 설치장소로 적당한 곳은?
64번 자동화재탐지설비의 감지기회로에 설치하는 종단저항의 설치기준으로 옳지 않은 것은?
65번 다음 중 복합형감지기의 종류에 속하지 않는 것은?(오류 신고가 접수된 문제입니다. 반드시 정답과 해설을 확인하시기 바랍니다.)
66번
다음 ( )에 알맞은 내용은?

67번 무선통신보조설비에서 무선기기의 접속단자를 지상에 설치할 경우 보행거리 몇 [m] 이내마다 설치하는가?
68번 무선 통신보조설비의 주요구성요소가 아닌 것은?
69번 5층(지하층은 제외한다) 이상의 소방 대상물 중 지하층에서 발화 한 경우 비상방송성비 우선경보 해당 층의 기준으로 옳은 것은?
70번 비상콘센트설비의 비상전원을 자가발전기설비 또는 비상전원수전설비로 설치하여야하는 소방대상물로 옳은 것은?
71번 단독경보형감지기를 설치하는 경우 바닥면적이 얼마 마다 1개 이상 설치하여야 하는가?
72번 다음 중 유도등의 예비전원은 어떠한 축전지로 설치하여야 하는가?
73번 자동화재탐지설비의 청각장애인용 시각경보장치의 설치기준으로 옳지 않은 것은?
74번 비상콘센트용의 풀박스 등은 방청도장을 항 것으로서 두께는 몇 [mm] 이상의 철판으로 하는가?
75번 복도, 거실통로유도등의 설치높이에 대한 기준을 옳게 나타낸 것은? (단, 거실통로에 기둥 등이 설치되지 아니한 경우이다.)
76번 비상방송설비의 설치기준에 대한 설명으로 옳은 것은?
77번 비상콘센트설비에서 저압의 범위는?(2021년 개정된 KEC 규정 적용됨)
78번 소방시설용 비상전원수전설비에서 전력수급용 계기용 변서기ㆍ주차단장치 및 그 부속시시로 정의되는 것은?
79번 자동화재탐지설비의 경계구역에 대한 설명 중 맞는 것은?
80번 P형 1급 발신기에 사용하는 회선의 종류는?
연도별
- 2022년04월24일
- 2022년03월05일
- 2021년09월12일
- 2021년05월15일
- 2021년03월07일
- 2020년09월26일
- 2020년08월22일
- 2020년06월06일
- 2019년09월21일
- 2019년04월27일
- 2019년03월03일
- 2018년09월15일
- 2018년04월28일
- 2018년03월04일
- 2017년09월23일
- 2017년05월07일
- 2017년03월05일
- 2016년10월01일
- 2016년05월08일
- 2016년03월06일
- 2015년09월19일
- 2015년05월31일
- 2015년03월08일
- 2014년09월20일
- 2014년05월25일
- 2014년03월02일
- 2013년09월28일
- 2013년06월02일
- 2013년03월10일
- 2012년09월15일
- 2012년05월20일
- 2012년03월04일
- 2011년10월02일
- 2011년06월12일
- 2011년03월20일
- 2010년09월05일
- 2010년05월09일
- 2010년03월07일
- 2009년08월30일
- 2009년05월10일
- 2009년03월01일
- 2008년09월07일
- 2008년05월11일
- 2008년03월02일
- 2007년09월02일
- 2007년05월13일
- 2007년03월04일
- 2006년09월10일
- 2006년05월17일
- 2006년03월05일
- 2005년09월04일
- 2005년05월29일
- 2005년03월06일
- 2004년09월05일
- 2004년05월23일
- 2004년03월07일
- 2003년08월31일
- 2003년05월25일
- 2003년03월16일