기계설계기사 (2016년05월08일 기출문제)
1과목 : 재료역학
1번
그림과 같이 하중을 받는 보에서 전단력의 최대값은 약 몇 kN 인가?

2번
지름이 동일한 봉에 위 그림과 같이 하중이 작용할 때 단면에 발생하는 축 하중 선도는 아래 그림과 같다. 단면 C에 작용하는 하중(F)는 얼마인가?

3번
길이가 L이고 지름이 d0인 원통형의 나사를 끼워 넣을 때 나사의 단위 길이 당 t0의 토크가 필요하다. 나사 재질의 전단탄성계수가 G일 때 나사 끝단 간의 비틀림 회전량(rad)은 얼마인가?
4번
지름이 d인 짧은 환봉의 축 중심으로부터 a만큼 떨어진 지점에 편심압축하중이 P가 작용할 때 단면상에서 인장응력이 일어나지 않는 a 범위는?

5번
그림과 같이 단붙이 원형축(Stepped Circular Shaft)의 풀리에 토크가 작용하여 평형상태에 있다. 이 축에 발생하는 최대 전단응력은 몇 MPa 인가?

6번
그림과 같이 순수 전단을 받는 요소에서 발생하는 전단응력 τ=70MPa, 재료의 세로탄성계수는 200GPa, 포아송의 비는 0.25 일 때 전단 변형률은 약 몇 rad 인가?

7번
전단력 10kN이 작용하는 지름 10cm인 원형단면의 보에서 그 중립축 위에 발생하는 최대 전단응력은 약 몇 MPa 인가?
8번
두께 1.0mm의 강판에 한 변의 길이가 25mm 인 정사각형 구멍을 펀칭하려고 한다. 이 강판의 전단 파괴응력이 250 MPa 일 때 필요한 압축력은 몇 kN 인가?
9번
지름 35cm의 차축이 0.2°만큼 비틀렸다. 이때 최대 전단응력이 49MPa이고, 재료의 전단 탄성계수가 80 GPa 이라고 하면 이 차축의 길이는 약 몇 m 인가?
10번
정육면체 형상의 짧은 기둥에 그림과 같이 측면에 홈이 파여져 있다. 도심에 작용하는 하중 P로 인하여 단면 m-n 에 발생하는 최대 압축응력은 홈이 없을 때 압축응력의 몇 배 인가?

11번
그림과 같은 단순 지지보의 중앙에 집중하중 P가 작용할 때 단면이 (가)일 경우의 처짐 y1은 단면이 (나)일 경우의 처짐 y2의 몇 배인가? (단, 보의 전체 길이 및 보의 굽힘 강성은 일정하며 자중은 무시한다.)

12번
그림과 같은 일단 고정 타단 롤러로 지지된 등분포하중을 받는 부정정보의 B단에서 반력은 얼마인가?

13번
그림과 같이 벽돌을 쌓아 올릴 때 최하단 벽돌의 안전계수를 20으로 하면 벽돌의 높이 h를 얼마만큼 높이 쌓을 수 있는가? (단, 벽돌의 비중량은 16kN/m3, 파괴 압축응력을 11 MPa 로 한다.)

14번
그림의 구조물이 수직하중 2P를 받을 때 구조물 속에 저장되는 탄성변형에너지는? (단, 단면적 A, 탄성계수 E는 모두 같다.)

15번
그림과 같이 균일분포 하중 w를 받는 보에서 굽힘 모멘트 선도는?

16번
바깥지름 30cm, 안지름 10cm인 중공 원형 단면의 단면계수는 약 몇 cm3 인가?
17번
일단 고정 타단 롤러 지지된 부정정보의 중앙에 집중하중 P를 받고 있을 때, 롤러 지지점의 반력은 얼마인가?
18번
평면 응력상태에서 σx와 σy 만이 작용하는 2축 응력에서 모어원의 반지름이 되는 것은? (단, σx > σy 이다.)
19번
강재의 인장시험 후 얻어진 응력-변형률 선도로부터 구할 수 없는 것은?
20번
지름 100mm의 양단 지지보의 중앙에 2kN의 집중하중이 작용할 때 보 속의 최대굽힘응력이 16MPa 일 경우 보의 길이는 약 몇 m 인가?
2과목 : 기계제작법
21번
플라즈마 젯 가공의 특징으로 틀린 것은?
22번
주물의 결함 중 기공(blow hole)의 방지대책으로 가장 거리가 먼 것은?
23번
선반가공에서 구성인선(built-up edge)의 방지대책으로 적절하지 않은 것은?
24번
프레스가공에서 딥 드로잉(deep drawing)으로 제품(용기)의 높이가 40mm, 용기 밑부분의 지름이 30mm인 제품을 가공하려고 할 때 필요한 소재의 지름은 약 몇 mm 이어야 하는가? (단, 제품과 소재의 두께는 고려하지 않는다.)
25번
바이트의 전방 여유각에 대한 설명으로 옳은 것은?
26번
래핑(lapping)가공의 특징으로 틀린 것은?
27번
길이가 긴 게이지 블록에서 굽힘이 발생할 경우에도 양 단면이 항상 평행을 유지하기 위한 지지점인 에어리 점(Airy Point)의 위치는? (단, L은 게이지 블록의 길이이다.)
28번
밀링가공에서 플레인 커터를 고정시키기 위해 사용하는 공구는?
29번
다음 중 슈퍼 피니싱 유닛을 설치하여 사용하기 가장 적합한 공작기계는?
30번
절삭가공에서 공구를 교환하기 위한 공구수명의 판정기준과 가장 거리가 먼 것은?
31번
전기저항용접과 관계되는 법칙은?
32번
프레스기계에서 두께 5mm인 연강판에 지름을 30mm로 펀칭하려고 한다. 슬라이드 평균속도를 5m/min, 기계효율을 72%라 한다면 소요 동력은 약 몇 kW인가? (단, 판의 전단 저항은 245 N/mm2 이다.)
33번
머시닝센터(Machining Center)에서 이송기능(F)과 함께 사용하는 준비기능으로 옳은 것은?
34번
주형에 용탕을 주입할 때 걸리는 시간인 주입시간에 대한 실험식으로 옳은 것은? (단, T는 주입시간(s), W는 주물의 중량(kg), S는 주물의 살두께에 따른 상수이다.)
35번
방전가공(Electro Discharge Machining)에서 전극재료의 구비조건으로 적절하지 않은 것은?
36번
연삭 작업에서 연삭숫돌의 파괴원인으로 볼 수 없는 것은?
37번
표면경화법인 액체 침탄법에서 액체 침탄질화제의 주성분은?
38번
드릴(drill) 가공 후 구멍의 정확한 진원가공과 구멍내면의 표면 거칠기를 우수하게 하기 위한 가공은?
39번
각도측정기인 사인바에 대한 설명 중 틀린 것은?
40번
열처리에서 심냉 처리(sub-zero treatment)에 관한 설명으로 옳은 것은?
3과목 : 기계설계 및 기계재료
41번
19.6kN의 하중을 나사잭으로 들어올리기 위하여 나사잭을 작동시키기 위한 토크를 구하고자 한다. 나사의 유효지름은 41mm, 피치는 8mm, 나사 접촉부의 유효마찰계수(effective coefficient of friction)는 0.13 이라고 할 때 필요한 토크는 약 몇 N·m 인가? (단, 와셔 접촉면 마찰의 영향은 무시한다.)
42번
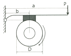
그림과 같은 블록 브레이크가 제동할 수 있는 토크는 약 몇 N·m 인가? (단, a는 500mm, b는 100mm, D는 200mm 이며, 레버를 누르는 힘(P)는 250N, 접촉부 마찰계수는 0.2 이다.)

43번
평행한 두 축 사이의 거리가 약간 떨어진 경우 사용되는 커플링으로 두 축 사이에 중간 원판을 끼워서 동력전달을 하게 되며, 윤활문제와 원심력 때문에 고속회전에는 부적당한 커플링은?
44번
표준 인벌류트 기어에서 물림률(contact ratio)이란?
45번
온도변화에 따른 관의 열응력 발생이 우려될 때는 이를 흡수하기 위한 신축 관이음을 사용하게 되는데 다음 중 신축 관이음에 속하지 않는 것은?
46번
강판의 두께 16mm, 리벳 구멍의 지름 18mm, 리벳의 피치 68mm인 1줄 리벳 겹치기 이음에서 1 피치마다 16kN의 하중에 작용할 때, 판의 효율은 약 얼마인가?
47번
지름 70mm, 길이 85mm의 저널 베어링을 400rpm으로 회전하는 전동축에 사용했을 때 약 몇 kN의 베어링 하중을 지지할 수 있는가? (단, 압력속도계수 pv = 1 N/mm2·m/s 이다.)
48번
홈 마찰자에서 홈의 각도가 2α이고 접촉부 마찰계수가 μ일 때 등가마찰계수(혹은 상당마찰계수)를 나타내는 식은?
49번
지름이 d인 전동축에 묻힘키를 사용하여 키의 전단 저항으로 토크를 전달하고자 할 때 키의 폭 b는? (단, 키와 축에서 발생한 전단응력은 같다고 하고 키의 길이는 축 지름의 1.5배로 한다.)
50번
공기 스프링에 대한 일반적인 특징 설명으로 옳지 않은 것은?
51번
강의 열처리 방법 중 표면경화법에 해당하는 것은?
52번
C와 Si의 함량에 따른 주철의 조직을 나타낸 조직 분포도는?
53번
고 망간강에 관한 설명으로 틀린 것은?
54번
서브제로(sub-Zero)처리 관한 설명으로 틀린 것은?
55번
강의 5대 원소만을 나열한 것은?
56번
다음 중 비중이 가장 큰 금속은?
57번
과공석강의 탄소함유량(%)으로 옳은 것은?
58번
두랄루민의 합금 조성으로 옳은 것은?
59번
고속도공구강(SKH2)의 표준조성에 해당되지 않는 것은?
60번
대표적인 주조경질 합금으로 코발트를 주성분으로 한 Co-Cr-W-C계 합금은?
4과목 : 기구학 및 CAD
61번
임의의 2차원 좌표점을 30° 시계방향으로 회전 후 x축으로 2만큼, y축으로 3만큼 평행이동하기 위한 식이 [P] = [P][T]일 때, 동차 변환행렬 [T]는?
62번
곡면 모델링 시스템에 의해 만들어진 곡면을 불러들여 기존 모델의 평면을 바꾸기도 하는데 이러한 모델링 기능을 무엇이라 하는가?
63번
다음 중 CAD 입력장치가 아닌 것은?
64번
은선 혹은 은면 제거를 위한 방법이 아닌 것은?
65번
제품 설계에서 CAD 시스템을 이용하는 데 대한 장점으로 거리가 먼 것은?
66번
원점이 중심이고 장축이 x축이고 그 길이가 a, 단축이 y축이고 그 길이가 b인 타원을 표현하는 매개변수식은?
67번
형상모델링에서 기본입체(primitive)의 조합을 이용하여 복잡한 형상을 표현하는 기능과 관계있는 기능은?
68번
그림과 같이 4개의 경계곡선(C1~C4)을 선형 보간하여 얻어지는 곡면을 무엇이라 하는가?

69번
다음 설명 중 비다양체(nonmanifold) 상황에 해당하지 않는 것은?
70번
컴퓨터그래픽에서 적용되는 전형적인 두 가지 투영방식인 원근투영방식과 평행투영방식에 관한 설명 중 틀린 것은?
71번
다음 전동장치 중 가장 정확한 속도비를 얻을 수 있는 것은?
72번
베벨기어의 종류 중 두 축이 90°로 만나면서 두 기어의 크기와 속도가 서로 같은 것은?
73번
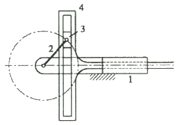
그림과 같이 작동하는 피스톤-크랭크 기구에서 피스톤의 가장 오른쪽 끝(C1)으로부터 이동거리 x를 구하는 식으로 옳은 것은? (단, 크랭크의 반지름은 r이며, 식에서 λ는 λ = 크랭크반지름/커넥팅로드 길이 이다.)

74번
그림과 같이 4링크 회전 기구에서 순간 중심의 수는 몇 개인가?

75번
그림과 같은 운동기에서 B요소가 AB위를 직선운동할 때 P점의 운동에 관한 설명으로 옳은 것은?

76번
캠과 종동절이 그리는 접촉면의 궤적에 따라 평면캠과 입체캠으로 구분하는데 다음 중 입체캠의 종류가 아닌 것은?
77번
평기어 장치에 비해 웜기어 장치의 특징이 아닌 것은?
78번
지름이 3cm 인 회전체가 2000rpm 으로 회전할 때 원주 속도는 약 몇 m/s 인가?
79번
다음 중 간헐운동기구가 아닌 것은?
80번
그림과 같은 크랭크 기구에서 크랭크의 길이가 100mm이고, 300rpm 으로 회전하고 있다. 크랭크의 위치가 수평위치로부터 60°의 위치에 왔을 때 슬라이더(4번 부품)의 선속도는 약 몇 m/s 인가?
