건축산업기사 (2019년04월27일 기출문제)
1과목 : 건축계획
1번
다음 중 주택 부엌의 기능적 측면에서 작업삼각형(work triangle)의 3변 길이의 합계로 가장 알맞은 것은?
2번
상점건축에서 진열창(show window)의 눈부심을 방지하는 방법으로 옳지 않은 것은?
3번
숑바르 드 로브에 따른 주거면적기준 중 한계기준은?
4번
다음 설명에 알맞은 국지도로의 유형은?

5번
학교의 배치계획에 관한 설명으로 옳은 것은?
6번
공동주택에 관한 설명으로 옳지 않은 것은?
7번
다음 설명에 알맞은 공장건축의 레이아웃 형식은?

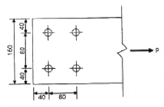
8번
무창 방직공장에 관한 설명으로 옳지 않은 것은?
9번
모듈러 코디네이션(Modular Coordination)의 효과와 가장 거리가 먼 것은?
10번
사무소 건축의 실단위 계획 중 개방식 배치에 관한 설명으로 옳지 않은 것은?
11번
다음 중 사무소 건축의 기둥 간격(span) 결정요인과 가장 거리가 먼 것은?
12번
사무실 건물에서 코어 내 각 공간의 위치관계에 관한 설명으로 옳지 않은 것은?
13번
단독주택의 거실 계획에 관한 설명으로 옳지 않은 것은?
14번
다음 설명에 알맞은 사무소 건축의 코어 유형은?

15번
공동주택의 형식 중 탑상형에 관한 설명으로 옳지않은 것은?
16번
소규모 주택에서 주방의 일부에 간단한 식탁을 설치하거나 식사실과 주방을 하나로 구성한 형태를 무엇이라 하는가?
17번
숍 프론트(shop front) 구성 형식 중 폐쇄형에 관한 설명으로 옳지 않은 것은?
18번
근린생활권의 구성 중 근린주구의 중심이 되는 시설은?
19번
백화점의 엘리베이터 배치 시 고려사항으로 옳지 않은 것은?
20번
우리나라 중학교에서 가장 많이 채택하고 있는 학교 운영방식은?
2과목 : 건축시공
21번
63.5k의 추를 76cm 높이에서 자유낙하시켜 30cm 관입하는데 필요한 타격횟수를 구하는 시험은?
22번
다음 중 공사시방서의 내용에 포함되지 않은 것은?
23번
조적식구조의 조적재가 벽돌인 경우 내력벽의 두계는 당해 벽높이의 최소 얼마 이상으로 하여야 하는가?
24번
타일의 크기가 11cm × 11cm 일 때 가로·세로의 줄눈은 6mm이다. 이 때 1m2에 소요되는 타일의 정미 수량으로 가장 적당한 것은?
25번
반복되는 작업을 수량적으로 도식화하는 공정관리기법으로 아파트 및 오피스 건축에서 주로 활용되는 것을 무엇이라고 하는가?
26번
굳지 않은 콘크리트 성질에 관한 설명으로 옳지 않은 것은?
27번
마감공사 시 사용되는 철물에 관한 설명으로 옳지 않은 것은?
28번
사질토와 점토질을 비교한 내용으로 옳은 것은?
29번
콘크리트에 사용하는 혼화재 중 플라이애쉬(Fly Ash)에 관한 설명으로 옳지 않은 것은?
30번
미장공사의 바름층 구성에 관한 설명으로 옳지 않은 것은?
31번
연약점토질 지반의 점착력을 측정하기 위한 가장 적합한 토질시험은?
32번
공동도급의 특징으로 옳지 않은 것은?
33번
흙막이 공법 중 수평버팀대의 설치 작업순서로 옳은 것은?

34번
금속커튼월의 성능시험 관련 실물모형시험(mock up test)의 시험종목에 해당하지 않는 것은?
35번
커튼월을 외관형태로 분류할 때 그 종류에 해당되지 않는 것은?
36번
ALC(Autoclaved Lightweight Concrete)의 물리적 성질 중 옳지 않은 것은?
37번
금속의 방식방법에 관한 설명으로 옳지 않은 것은?
38번
철공공사에서 녹막이 칠을 하지 않는 부위와 거리가 먼 것은?
39번
일반적인 적산 작업 순서가 아닌 것은?
40번
합성고분자계 시트방수의 시공 공법이 아닌 것은?
3과목 : 건축구조
41번
다음 구조물의 판별로 옳은 것은?

42번
그림과 같은 구조물에서 지점 A의 수평반력은?

43번
그림과 같은 캔틸레버 보에서 B와 C점의 처짐의 비 δB : δC 는?

44번
다음 각 슬래브에 관한 설명으로 옳지 않은 것은?
45번
그림과 같은 보의 허용하중은? (단, 허용 휨응력도 σb = 10MPa 임)

46번
그림과 같은 인장재의 순단면적을 구하면? (단, 고장력볼트는 M22(F10T), 판의 두께는8mm 이다.)

47번
아래 그림과 같은 트러스에서 AB부재의 부재력의 크기는? (단, +는 인장, -는 압축임)

48번
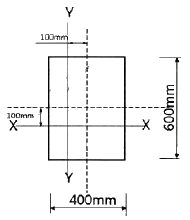
폭 b, 높이 h인 삼각형에서 밑변 축(X1-X1)에 대한 단면계수는 꼭짓점 축(X2-X2)에 대한 단면계수의 몇 배인가?

49번
강구조 설계에서 볼트의 중심사이 거리를 나타내는 용어는?
50번
프리스트레스하지 않는 현장치기 콘크리트에서 흙에 접하여 콘크리트를 친 후 영구히 흙에 묻혀 있는 콘크리트의 경우 철근에 대한 콘크리트의 최소 피복두께는?(2021년 개정된 규정 적용됨)
51번
그림과 같은 충전형 원형강관 합성기둥의 강재비는?

52번
그림과 같은 단순보에 집중하중 10kN이 특정각도로 작용할 때 B지점의 반력으로 옳은 것은?

53번
강구조 인장재에 관한 설명으로 옳지 않은 것은?
54번
다음 그림과 같은 단면은 X축과 Y축에 대한 단면2차모멘트의 값은? (단, 그림의 점선은 단면의 중심축임)

55번
한변의 길이가 4m인 그림과 같은 정삼각형트러스에서 AB부재의 부재력은?

56번
구조물의 한계상태에는 강도한계상태와 사용성한계상태가 있다. 강도한계상태에 영향을 미치는 요소와 가장 거리가 먼 것은?
57번
강도설계법에 의한 철근콘크리트 직사각형보에서 콘크리트가 부담할 수 있는 공칭전단강도는? (단, fck=24MPa, b=300mm, d=500mm, 경량콘크리트계수는 1)
58번
다음 그림과 같은 고장력 볼트 접합부의 설계미끄럼강도는?

59번
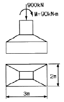
그림과 같은 하중을 받는 기초에서 기초지반면에 일어나는 최대압축응력도는?

60번
강도설계법에서 압축 이형철근 D22의 기본정착길이는? ( 단, fck=24MPa, fy=400MPa, λ=1.0))
4과목 : 건축설비
61번
최상부의 배수수평관이 배수수직관에 접속된 위치보다도 더욱 위로 배수수직관을 끌어올려 통기관으로 사용하는 부분으로 대기 중에 개구하는 것은?
62번
보일러에 관한 설명으로 옳지 않은 것은?
63번
전기설비에서 간선 크기의 결정 요소에 속하지 않는 것은?
64번
보일러 주변을 하트포드(Hartford) 접속으로 하는 가장 주된 이유는?
65번
배수설비에서 트랩의 봉수파괴 원인과 가장 거리가 먼 것은?
66번
다음과 같은 특징을 갖는 배선 공사는?

67번
방열량이 4200W 이고 입출구 수온차가 10℃인 방열기의 순환수량은? (단, 물의 비열은 4.2 kJ/kg·K 이다.)
68번
자동화재탐지설비의 감지기 중 설치된 감지기의 주변온도가 일정한 온도상승률 이상으로 되었을 경우에 작동하는 것은?
69번
다음의 공기조화방식 중 에너지 손실이 가장 큰 것은?
70번
배관 중의 이물질 등을 제거하기 위해 설치하는 것은?
71번
피보호물을 연속된 망상도체나 금속판으로 싸는 방법으로 뇌격을 받더라도 내부에 전위차가 발생하지 않으므로 건물이나 내부에 있는 사람에게 위해를 주지 않는 피뢰설비 방식은?
72번
10cm두께의 콘크리트 벽 양쪽 표면의 온도가 각각 5℃, 15℃ 로 일정할 때, 벽을 통과하는 전도 열량은? (단, 콘크리트의 열전도율은 1.6W/m·K 이다.)
73번
바닥복사난방에 관한 설명으로 옳지 않은 것은?
74번
급수방식에 관한 설명으로 옳은 것은?
75번
다음과 같은 조건에서 틈새바람 100m3/h 가 실내로 유입되었다. 이로 인해 발생하는 냉방현열부하는?

76번
방축열 시스템에 관한 설명으로 옳지 않은 것은?
77번
중앙식 급탕법 중 직접가열식에 관한 설명으로 옳지 않은 것은?
78번
옥내소화전설비를 설치하여야 하는 건축물에서 옥내소화전의 설치개수가 가장 많은 층의 설치개수가 4개인 경우, 옥내소화전설비의 수원의 저수량은 최소 얼마 이상이 되도록 하여야하는가?(2021년 04월 01일 개정된 규정 적용됨)
79번
정화조에서 호기성균에 의하여 오수를 처리하는 곳은?
80번
다음 중 효율이 가장 높지만 등황색의 단색광으로 색채의 식별이 곤란하므로 주로 터널조명에 사용하는 것은?
5과목 : 건축관계법규
81번
신축 또는 리모델링하는 경우, 시간당 0.5회 이상의 환기가 이루어질 수 있도록 자연환기 설비 또는 기계환기설비를 설치하여야 하는 대상 공동주택의 최소 세대수는?
82번
건축물의 대지에 소규모 휴식시설 등의 공개 공지 또는 공개 공간을 설치하여야 하는 대상 지역에 속하지 않는 것은?
83번
주차장 주차단위구획의 최소 크기로 옳은 것은? (단, 일반형으로 평행주차형식의 경우)
84번
다음은 노외주차장의 구조 · 설비기준 내용이다. ( )안에 알맞은 것은?

85번
공동주택과 위락시설을 같은 건축물에 설치하고자 하는 경우, 충족해야 할 조건에 관한 기준 내용으로 옳지 않은 것은?
86번
제1종 일반주거지역안에서 건축할 수 잇는 건축물에 속하지 않는 것은?
87번
건물의 바깥쪽에 설치하는 피난계단의 구조에 관한 기준 내용으로 옳지 않은 것은?
88번
허가 대상 건축물이라 하더라도 신고를 하면 건축 허가를 받은 것으로 볼 수 있는 경우에 관한 기준 내용으로 옳지 않은 것은?
89번
부설주차장의 총주차대수 규모가 8대 이하인 자주식 주차장의 주차형식에 따른 차로의 너비 기준으로 옳은 것은? (단, 주차장은 지평식이며, 주차단위구획과 접하여 잇는 차로의 경우)
90번
다음은 건축물 층수 산정에 관한 기준 내용이다. ( )안에 알맞은 것은?

91번
다음 중 건축기준의 허용오차(%)가 가장 큰 항목은?
92번
승용승강기 설치 대상 건축물로서 6층 이상의 거실 면적의 합계가 2000m2인 경우, 다음 중 설치하여야 하는 승용승강기의 최소 대수가 가장 많은 건축물은? (단, 8인승 승용승강기의 경우)
93번
세대수가 20세대인 주거용 건축물에 설치하는 음용수용 급수관의 최소 지름은?
94번
건축법령상 의료시설에 속하지 않는 것은?
95번
연면적이 200m2를 초과하는 건축물에 설치하는 복도의 유효너비는 최소 얼마 이상으로 하여야하는가? (단, 건축물은 초등학교이며, 양옆에 거실이 있는 복도의 경우)
96번
국토의 계획 및 이용에 관한 법령상 공업지역의 세분에 속하지 않는 것은?
97번
건축물에 급수, 배수, 환기, 난방 설비 등의 건축 설비를 설치하는 경우 건축기계설비기술사 또는 공조냉동기계기술사의 협력을 받아야 하는 대상 건축물에 속하지 않는 것은?
98번
건축법령상 연립주택의 정의로 가장 알맞은 것은?
99번
다음 중 노외주차장의 출구 및 입구를 설치할 수 잇는 장소는?
100번
문화 및 집회시설 중 공연장의 개별 관람석의 바닥면적이 800m2인 경우 설치하여야 하는 최고 출구수는? (단, 각 출구의 유효너비는 기준상 최소로 한다.)
연도별
- 2020년08월22일
- 2020년06월06일
- 2019년08월04일
- 2019년04월27일
- 2019년03월03일
- 2018년08월19일
- 2018년04월28일
- 2018년03월04일
- 2017년08월26일
- 2017년05월07일
- 2017년03월05일
- 2016년08월21일
- 2016년05월08일
- 2016년03월06일
- 2015년08월16일
- 2015년05월31일
- 2015년03월08일
- 2014년08월17일
- 2014년05월25일
- 2014년03월02일
- 2013년08월18일
- 2013년06월02일
- 2013년03월10일
- 2012년08월26일
- 2012년05월20일
- 2012년03월04일
- 2011년08월21일
- 2011년06월12일
- 2011년03월20일
- 2010년07월25일
- 2010년05월09일
- 2010년03월07일
- 2009년07월26일
- 2009년03월01일
- 2008년05월11일
- 2007년08월05일
- 2007년05월13일
- 2007년03월04일
- 2006년08월16일
- 2005년08월07일
- 2005년05월29일
- 2005년03월06일
- 2004년08월08일
- 2004년05월23일
- 2004년03월07일
- 2003년08월10일
- 2003년05월25일
- 2003년03월16일
- 2002년08월11일
- 2002년05월26일
- 2002년03월10일