2003년08월10일 24번
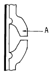
[목재해부학] 중문공(유연막공)의 구조를 그린 그림에서 A부분의 명칭은?

- ① 문공환(pit annulus)
- ② 문공강(pit cavity)
- ③ 문공연(윤대:pit border)
- ④ 문공구(pit canal)
(정답률: 알수없음)
문제 해설
연도별
진행 상황
0 오답
0 정답
문공환은 유연막공의 벽면과 나무세포벽면 사이의 간격을 말합니다. 이 간격은 나무세포와 유연막공 사이의 연결고리 역할을 하며, 물과 영양분 등이 이동하는 경로가 됩니다.
반면, 문공연은 유연막공의 경계를 이루는 부분으로, 유연막공의 크기와 형태를 결정합니다. 문공강은 유연막공 내부의 공간을 말하며, 문공구는 유연막공 내부에서 나무세포와 연결되는 작은 구멍을 말합니다.