건설재료시험산업기사 (2020년08월22일 기출문제)
1과목 : 콘크리트공학
1번
콘크리트 다지기에 대한 설명으로 틀린 것은?
2번
일반적인 수중 콘크리트의 경우, 콘크리트 표준시방서에 규정된 물-결합재비와 단위 결합재량의 기준은 각각 얼마인가?
3번
매스 콘크리트에 대한 설명으로 옳은 것은?
4번
설계기준압축강도가 21MPa인 콘크리트로 부터 5개의 공시체를 제작하여 압축강도 시험을 한 결과 각각 22, 23, 24, 27, 29MPa의 압축강도를 얻었다. 콘크리트 품질관리를 위한 압축강도의 불편분산에 의한 표준편차 값은?
5번
보통 콘크리트에 비해 강섬유보강 콘크리트의 가장 큰 특성은?
6번
시험용 공시체를 이용하여 쪼갬 인장 강도 시험을 실시하였더니 90kN의 하중에서 파괴되었다. 이 콘크리트의 쪼갬 인장 강도는? (단, 공시체의 지름은 100mm, 높이는 200mm이다.)
7번
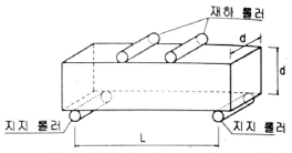
콘크리트의 휨강도 시험방법에 대한 아래의 그림에서 지간의 길이(L)로서 가장 적당한 것은? (단, 치수의 단위는 mm이다.)

8번
공기 중의 이산화탄소 등과 콘크리트 중의 수산화칼슘이 반응함으로써 일어나는 현상으로 콘크리트 피복두께 이상으로 진행될 경우 철근의 부식을 초래하여 궁극적으로 구조물의 수명을 단축시키게 되는 것은?
9번
콘크리트의 크리프에 영향을 주는 요소에 대한 내용으로 옳은 것은?
10번
외력에 의하여 일어나는 응력을 소정의 한도까지 상쇄할 수 있도록 미리 인위적으로 그 응력의 분포와 크기를 정하여 내력을 준 콘크리트를 무엇이라고 하는가?
11번
30회 이상의 압축강도 시험으로부터 구한 압축강도의 표준편차가 4MPa일 때, 설계기준 압축강도 28MPa인 콘크리트를 제조하기 위한 배합강도는?
12번
잔골재의 절대용적이 0.29m3, 굵은 골재의 절대용적이 0.41m3인 콘크리트의 잔골재율은?
13번
시방배합 결과 콘크리트 1m3에 사용되는 물은 180kg, 시멘트는 390kg, 잔골재는 717.65kg, 굵은 골재는 1082.35kg이다. 현장 골재의 표면수량을 측정한 결과 잔골재의 표면수량은 2%, 굵은 골재의 표면 수량은 1%일 때, 현장배합에 필요한 단위 수량은?
14번
콘크리트의 습윤양생에 관한 설명으로 틀린 것은?
15번
미리 거푸집 속에 특정한 입도를 가지는 굵은 골재를 채워놓고, 그 간극에 모르타르를 주입하여 제조한 콘크리트는?
16번
시공이음에 대한 설명으로 틀린 것은?
17번
PS강재를 긴장 정착할 때 즉시 발생하는 프리스트레스 손실원인에 해당하는 것은?
18번
콘크리트의 재료분리에 관한 내용으로 틀린 것은?
19번
외기온도가 25℃ 미만일 때 콘크리트의 비비기로부터 타설이 끝날 때까지의 시간은 원칙적으로 얼마를 넘어서는 안 되는가?
20번
고강도 콘크리트의 설계기준압축강도는 보통(중량)콘크리트에서 최소 몇 MPa이상 이어야 하는가?
2과목 : 건설재료 및 시험
21번
시멘트 저장에 관한 설명으로 가장 적절한 것은?
22번
다음 중 석유 아스팔트가 아닌 것은?
23번
다음 설명의 의미하는 토목섬유의 종류는?

24번
화강암에 대한 설명으로 틀린 것은?
25번
혼화재료의 일반적 사용목적이 아닌 것은?
26번
포졸란 반응(Pozzolan reaction)의 효과에 대한 설명으로 틀린 것은?
27번
다음 중 암석의 가공이나 채석에 이용되는 것으로 암석의 갈라지기 쉬운 면을 무엇이라 하는가?
28번
강에서 탄소의 함유량이 증가될 때 변화되는 강의 성질에 대한 설명으로 틀린 것은?
29번
다음 중에서 폭발력이 강하고 수중에서도 폭발할 수 있는 다이너마이트는?
30번
단위용적질량이 1.7kg/L인 굵은 골재의 절건밀도가 2.65kg/L일 때 이 골재의 공극률은?
31번
다음 중 아스팔트의 품질을 확인하는 시험이 아닌 것은?
32번
잔골재의 조립률이 2.5이고 굵은 골재의 조립률이 6.5인 경우에 잔골재와 굵은 골재를 1:1.5의 비율로 혼합해 사용한다면 이때 혼합된 골재의 조립률은 얼마인가?
33번
아스팔트의 침입도에 대한 설명으로 틀린 것은?
34번
콘크리트용으로 요구되는 골재의 성질에 속하지 않는 것은?
35번
다음 중 목재의 변재(邊材)와 심재(心材)에 관한 설명으로 옳은 것은?
36번
시멘트의 강도시험(KS L ISO 679)에 의해 시멘트 모르타르(cement mortar)의 압축강도 시험을 하기 위해 공시체를 제작하고자 한다. 이때 필요한 시멘트와 잔골재의 질량배합비율은?
37번
재료의 기계적 성질 중 외력을 받을 때 변형유발 정도를 표현하는 성질에 대한 용어는?
38번
분말도가 높은 시멘트의 특징에 대한 설명으로 틀린 것은?
39번
용광로 방식의 제철작업에서 선철과 함께 생성되는 것을 물, 공기 등으로 급랭하여 입상화 한 것으로 콘크리트에 혼합하면 수밀성과 화학적 저항성 등이 좋아지고 장기강도가 커지는 혼화재는?
40번
공기 중 건조 상태의 골재 500g을 물속에 24시간 담근 후 측정한 골재의 질량이 515g이다. 이 골재를 다시 건조로에서 건조시켰을 때 절대 건조 질량이 485g이 되었다. 이 골재의 함수율은?
3과목 : 건설시공학
41번
보강토 옹벽에 대한 설명으로 틀린 것은?
42번
지반개량공법 중 연약지반을 탈수하여 지반의 밀도증가를 기대하는 공법이 아닌 것은?
43번
본바닥 토량이 1000m3이고 덤프트럭 1대로 운반하면 운반 소요 일수는? (단, 덤프트럭 1대 운반 적재량은 6m3, 1대 1일 운반 횟수는 20회, 토량 변화율(L)DMS 1.32이다.)
44번
노상이나 노반의 다짐이 완료되면 롤러나 재하 된 덤프트럭을 주행시켜 침하량을 측정하는 방법은?
45번
댐의 위치를 결정하기 위한 지형적인 조건으로 틀린 것은?
46번
공기 케이슨 공법에 대한 설명으로 틀린 것은?
47번
아래 표와 같은 조건에서 불도저의 작업량을 산출할 때 사용하는 사이클타임(Cm)은?

48번
보통 흙을 재료로 하여 1800m3의 성토 공사를 할 경우 굴착해야할 원지반 토량은 얼마인가? (단, 토량의 변화율은 C=0.90이다.)
49번
건설기계 중에서 셔블(shovel)계 굴착기에 포함되지 않는 것은?
50번
옹벽의 안정성 검토 시 고려사항이 아닌 것은?
51번
1개의 간선 집수거 또는 집수거에 많은 흡수거를 합류시켜 배치하면 집수지거를 향하여 지형이 완만한 구배로 경사되어 있고 습윤상태가 같은 정도의 곳에 적합한 암거 배열 방식은?
52번
심빼기 부분에 수직한 평행공을 다수 천공하여 장약량을 집중시키고 순발뇌관으로 폭파시켜 폭파 쇼크에 의하여 심빼기 하는 방법은?
53번
지름 40cm의 나무말뚝 36본을 박아서 기초저판을 지지하고 있다. 말뚝의 배치를 6열로 하고 각 열을 등간격으로 6본씩 받았을 때 군항의 효율은? (단, 말뚝의 중심 간격은 1.0m이며, Converse-Labarre식을 사용한다.)
54번
시멘트 콘크리트 포장의 종류 중 아래의 표에서 설명하는 것은?

55번
토량변화율 L을 나타낸 식으로 옳은 것은?
56번
아래 그림의 교대에서 D부분의 명칭은?

57번
터널의 보강을 위한 숏크리트(Shotcrete)에서 건식법의 특징으로 틀린 것은?
58번
다음과 같은 공정표에서 주공정이 옳게 표기된 것은?

59번
말뚝기초에서 부마찰력이 발생하는 원인이 아닌 것은?
60번
아래의 표는 장대교 시공법의 특징에 대한 설명이다. 다음 중 어느 공법에 대한 설명인가?

4과목 : 토질 및 기초
61번
흑의 전단강도에 대한 설명으로 틀린 것은?
62번
그림과 같은 파괴 포락선 중 완전 포화된 점성토에 대해 비압밀비배수 삼축압축(UU)시험을 했을 때 생기는 파괴포락선은 어느 것인가?

63번
주동토압을 PA, 정지토압을 PO, 수동토압 PP라 할 때 크기의 비교로 옳은 것은?
64번
흙의 다짐 특성에 대한 설명으로 옳은 것은?
65번
흙의 다짐 에너지에 대한 설명으로 틀린 것은?
66번
말뚝기초에서 부주면마찰력(negative skin friction)에 대한 설명으로 틀린 것은?
67번
말뚝의 재하시험 시 연약점토 지반인 경우는 말뚝 타입 후 소정의 시간이 경과한 후 말뚝재하시험을 한다. 그 이유로 옳은 것은?
68번
두께 6m의 점토층에서 시료를 채취하여 압밀시험한 결과 하중강도가 200kN/m2에서 400kN/m2으로 증가되고 간극비는 2.0에서 1.8로 감소하였다. 이 시료의 압축계수(av)는?
69번
사질토 지반에 있어서 강성기초의 접지 압분포에 대한 설명으로 옳은 것은?
70번
흙의 투수계수에 대한 설명으로 틀린 것은?
71번
도로의 평판 재하 시험(KS F 2310)에서 변위계 지지대의지지 다리 위치는 재하판 및 지지력 장치의 지지점에서 몇 m 이상 떨어져 설치하여야 하는가?
72번
연약지반 개량공법에서 Sand Drain공법과 비교한 Paper Drain공법의 특징이 아닌 것은?
73번
흙 속의 물이 얼어서 빙충(ice lens)이 형성되기 때문에 지표면이 떠오르는 현상은?
74번
흙의 연경도에 대한 설명 중 틀린 것은?
75번
어떤 퇴적지반의 수평방향 투수계수가 4.0×10-3cm/s, 수직방향 투수계수가 3.0×10-3cm/s일 때 이 지반의 등가 등방성 투수계수는 얼마인가?
76번
분할법으로 사면인정 해석 시에 가장 먼저 결정되어야 할 사항은?
77번
어느 모래층의 간극률이 20%, 비중이 2.65이다. 이 모래의 한계 동수경사는?
78번
포화점토에 대해 베인전단시험을 실시하였다. 베인의 지름과 높이는 각각 75mm와 150mm이고 시험 중 사용한 최대 회전 모멘트는 300N·m, 점성토의 비배수 전단강도(cu)는?
79번
2면 직접전단시험에서 전단력이 300N, 시료의 단면적이 10cm2일 때의 전단응력은?
80번
통일분류법에서 실트질 자갈을 표시하는 기호는?
연도별
- 2020년08월22일
- 2020년06월06일
- 2019년04월27일
- 2019년03월03일
- 2018년09월15일
- 2018년03월04일
- 2017년09월23일
- 2017년05월07일
- 2017년03월05일
- 2016년10월01일
- 2016년05월08일
- 2016년03월06일
- 2015년03월08일
- 2013년09월28일
- 2012년09월15일
- 2010년03월07일
- 2005년09월04일
- 2005년05월29일
- 2005년03월20일
- 2005년03월06일
- 2004년09월05일
- 2004년05월23일
- 2004년03월07일
- 2003년08월10일
- 2003년05월25일
- 2003년03월16일
- 2002년09월08일
- 2002년05월26일
- 2002년03월10일